Tooling Balls
Shoulder Tooling Balls

** One piece construction

** Concentricity of ball to
    shank - .0002 T.I.R.

** Designed for fixture and
    tooling applications

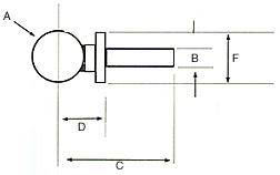
A — 12mm
B — 6mm
C — 22mm
D — 12mm
F — 12mm

Price per piece
$32.50

******PLEASE NOTE******
Available in stock in 12mm size only