
|
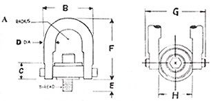
Metric Hoist Rings
Working Action:
360 degree swivel,
180 degree pivot

|
Rated
Loads |
Thread
Size |
E |
A |
B |
C |
D |
Std. U-Bar
Part No. F |
Lond U-Bar
Part No. F |
G |
H |
Torque
kgm |
Wt.
(kgs) |
|
400 |
M8x1.25 |
13 |
11 |
41 |
18 |
10 |
46912 |
68 |
|
|
47 |
25 |
.86 |
0.17 |
|
500 |
M10x1.5 |
18 |
11 |
41 |
18 |
10 |
46916 |
68 |
|
|
47 |
25 |
1.5 |
0.17 |
|
1,050 |
M12x1.75 |
19 |
22 |
83 |
30 |
19 |
46924 |
121 |
47124 |
171 |
89 |
51 |
3.7 |
1.08 |
|
1,900 |
M16x2.0 |
29 |
22 |
83 |
30 |
19 |
46930 |
121 |
47130 |
171 |
89 |
51 |
8.4 |
1.12 |
|
2,150 |
M20x2.5 |
34 |
22 |
83 |
30 |
19 |
46936 |
121 |
47136 |
171 |
89 |
51 |
14 |
1.19 |
|
3,000 |
M20x2.5 |
32 |
36 |
122 |
43 |
25 |
46942 |
166 |
47142 |
206 |
131 |
76 |
14 |
3.03 |
|
4,200 |
M24x3.0 |
37 |
36 |
122 |
43 |
25 |
46948 |
166 |
47148 |
206 |
131 |
76 |
31 |
3.10 |
|
4,200 |
M30x3.5 |
38 |
36 |
122 |
43 |
25 |
|
|
46950 |
206 |
131 |
76 |
31 |
3.10 |
|
7,000 |
M30x3.5 |
42 |
45 |
152 |
54 |
32 |
46956 |
222 |
|
|
165 |
95 |
60 |
6.30 |
|
7,000 |
M30x3.5 |
62 |
45 |
152 |
54 |
32 |
46958 |
222 |
|
|
165 |
95 |
60 |
6.40 |
|
11,000 |
M36x4.0 |
64 |
57 |
203 |
71 |
44 |
46966 |
317 |
|
|
217 |
124 |
100 |
15.50 |
|
12,500 |
M42x4.5 |
82 |
57 |
203 |
71 |
44 |
46968 |
317 |
|
|
217 |
124 |
100 |
16.00 |
|
13,500 |
M48x5.0 |
82 |
57 |
203 |
71 |
44 |
46970 |
317 |
|
|
217 |
124 |
100 |
16.80 |
|
22,300 |
M64x6.0 |
101 |
76 |
266 |
103 |
57 |
46972 |
428 |
|
|
296 |
165 |
273 |
39.0 |
|
31,500 |
M72x6.0 |
132 |
95 |
330 |
133 |
70 |
46988 |
495 |
|
|
359 |
206 |
559 |
74.0 |
|
44,600 |
M90x6.0 |
177 |
102 |
368 |
153 |
83 |
46990 |
561 |
|
|
404 |
218 |
663 |
118.0 |
|
Thread
Size |
6 x 1.0 |
8 x 1.25 |
10 x 1.5 |
12 x 1.75 |
*12 x 1.75 |
14 x 2.0 |
*14 x 2.0 |
16 x 2.0 |
*16 x 2.0 |
20 x 2.5 |
*20 x 2.5 |
|
Rated Load(KG) |
250 |
400 |
500 |
1,050 |
1,050 |
1,050 |
1,050 |
1,900 |
1,900 |
2,150 |
2,150 |
|
Price each |
81.76 |
71.76 |
71.76 |
86.48 |
95.68 |
96.48 |
105.68 |
86.48 |
95.68 |
86.48 |
95.68 |
|
Thread
Size |
20 x 2.5 |
*20 x 2.5 |
24 x 3.0 |
*24 x 3.0 |
*30 x 3.5
|
30 x 3.5 |
30 x 3.5 |
36 x 4.0 |
42 x 4.5 |
48 x 5.0 |
* Long Bar |
|
Rated
Load(KG) |
3,000 |
3,000 |
4,200 |
4,200 |
4,200 |
7,000 |
7,000 |
11,000 |
12,500 |
13,500 |
|
Price each |
184.00 |
197.80 |
184.00 |
197.80 |
184.00 |
312.80 |
312.80 |
414.00 |
450.80 |
483.00 |
|